
地址:深圳市光明新区马田街道将石新围第四工业区惠龙兴工业园A4栋4楼
邮编:518103
电话:0755-81462585
传真:0755-81452570
E-mail:shincore@163.com
phil@shincore.cn
golt@shincore.cn

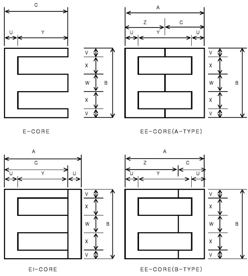
镍钢片
产品编码 | A | B | C | U | V | W | X | V | Z |
(mm) | (mm) | (mm) | (mm) | (mm) | (mm) | (mm) | (mm) | (mm) | |
ED-8(8X11) | - | 8 | 11 | 2.7 | 1.2 | 2.4 | 1.6 | 8.3 | - |
ED-8(8X13.6) | - | 8 | 13.6 | 2.8 | 1.2 | 2.5 | 1.55 | 10.8 | - |
ED-8LE(8X14) | - | 8 | 14 | 2.7 | 1.2 | 2.4 | 1.6 | 11.6 | - |
EE3031EL | - | 9.525 | 9.525 | 1.19 | 1.19 | 2.385 | 2.38 | 8.335 | - |
EL10-9.5 | - | 10 | 9.5 | 2 | 1.35 | 2.5 | 2.4 | 7.5 | - |
ED-12.6 | - | 12.6 | 17 | 4.1 | 1.9 | 3.8 | 2.5 | 12.9 | - |
EL12.7 | - | 12.72 | 11.11 | 1.58 | 1.59 | 3.18 | 3.18 | 9.53 | - |
EL13.5 | - | 13.5 | 16 | 2.4 | 2.2 | 4.8 | 2.15 | 13.6 | |
ED-16 | - | 16 | 21 | 4.9 | 2.4 | 4.8 | 3.2 | 16.1 | - |
ED-20 | - | 20 | 26 | 6 | 3 | 6 | 4 | 20 | - |
ED-25 | - | 25 | 33 | 7.8 | 3.8 | 7.6 | 4.9 | 25.2 | - |
EI14 | 10.5 | 14 | 8.75 | 1.75 | 1.75 | 3.5 | 3.5 | 7 | - |
EL14 | - | 14 | 10.5 | 1.75 | 1.75 | 3.5 | 3.5 | 8.75 | - |
E14-12 | - | 14 | 12 | 2.5 | 1.75 | 3.5 | 3.5 | 9.5 | - |
E15.2 | - | 15.24 | 10.795 | 1.905 | 1.905 | 3.81 | 3.81 | 8.89 | - |
EI16 | 14 | 16 | 12 | 2 | 2 | 4 | 4 | 10 | - |
EL16 | - | 16 | 14 | 2 | 2 | 4 | 4 | 12 | - |
EL16(LOSS TYPE) | - | 16 | 16 | 2.4 | 2.4 | 4.8 | 3.2 | 13.6 | - |
UI16 | 18.1 | 16.6 | 15.3 | 2.8 | 2.8 | - | 11 | 12.5 | - |
E16-11 | - | 16 | 11 | 2.4 | 2.4 | 4.8 | 3.2 | 8.6 | - |
EE19(18.8) | 42 | 18.8 | 21 | 5.2 | 3.3 | 6.8 | 2.7 | 31.6 | 21 |
EI19 | 15 | 19 | 12.5 | 2.5 | 2.375 | 4.75 | 4.75 | 10 | - |
EL19 | - | 19 | 15 | 2.5 | 2.375 | 4.75 | 4.75 | 12.5 | - |
EL185 | - | 19.05 | 13.49 | 2.38 | 2.38 | 4.76 | 4.76 | 11.11 | - |
EI186 | 11.15 | 19.08 | 8.75 | 2.4 | 2.385 | 4.77 | 4.77 | 6.35 | - |
EL186 | - | 19.04 | 11.13 | 2.4 | 2.38 | 4.76 | 4.76 | 8.73 | - |
EI187 | 15.391 | 19.08 | 13.51 | 2.4 | 2.385 | 4.77 | 4.77 | 11.11 | - |
EL187 | - | 19.08 | 15.9 | 2.4 | 2.385 | 4.77 | 4.77 | 13.5 | - |
EE20 A TYPE | 20.2 | 20 | 10.1 | 3 | 3 | 6 | 4 | 14.2 | 10.1 |
EE20 B TYPE | 20 | 20 | 6 | 3 | 3 | 6 | 4 | 14 | 14 |
EE22 | 24 | 22 | 12 | 3 | 3 | 6 | 5 | 18 | 12 |
EL22 | 28 | 22 | 14 | 3 | 3 | 6 | 5 | 22 | 14 |
EI24 | 18 | 24 | 15 | 3 | 3 | 6 | 6 | 12 | - |
EL24 | - | 24 | 18 | 3 | 3 | 6 | 6 | 15 | - |
E25.4 | - | 25.4 | 12.7 | 3.18 | 3.175 | 6.35 | 6.35 | 9.525 | - |
EL24/25 | - | 25.4 | 19.05 | 3.175 | 3.175 | 6.35 | 6.35 | 15.875 | - |
EE24/25 | 19.05 | 25.4 | 6.35 | 3.175 | 3.175 | 6.35 | 6.35 | 12.7 | 12.7 |
EE24/25(GAP) | 19.05 | 25.4 | 6.35 | 3.175 | 3.175 | 6.35 | 6.35 | 12.7 | 12.7 |
EE26/27 | 27.01 | 31.75 | 9.45 | 4.77 | 4.76 | 9.53 | 6.35 | 17.47 | 17.47 |
EI28 | 25 | 28 | 21.5 | 3.5 | 3.5 | 7 | 7 | 18 | - |
EE32 | 32.24 | 31.97 | 16.12 | 4.65 | 4.75 | 9.47 | 6.5 | 22.94 | 16.12 |
EI375 | 28.55 | 34.93 | 23.8 | 4.75 | 4.78 | 9.53 | 7.92 | 19.05 | - |
EI35 | 29.5 | 35 | 24.5 | 5 | 5 | 9.6 | 7.7 | 19.5 | - |
EI41 | 33 | 41 | 27 | 6 | 6 | 13 | 8 | 21 | - |
ZCT12.2 | 12.2 | 8.8 | - | - | - | - | - | - | - |
ZCT13.0 | 13 | 9.3 | - | - | - | - | - | - | - |
ZCT13.5 | 13.35 | 9.85 | - | - | - | - | - | - | - |
ZCT15 | 15 | 11 | - | - | - | - | - | - | - |
ZCT17.8 | 17.8 | 13.35 | - | - | - | - | - | - | - |
DU18 | - | 15.88 | 34.93 | 9.53 | 4.76 | - | 6.36 | 4.76 | - |
DU2023 | - | 19.05 | 30.17 | 9.53 | 4.765 | - | 9.53 | 4.765 | - |
U-18.34 | - | 18.34 | 42 | 4.3 | 3.17 | - | 12 | 3.17 | - |
U-28.84 | - | 28.84 | 66.8 | 4.8 | 3.67 | - | 21.5 | 3.67 | - |
UI-30 | 35 | 30 | 25 | 10 | 10 | - | 10 | 10 | - |
UI-12.7 | 15.875 | 12.7 | 12.7 | 3.175 | 3.175 | - | 6.35 | 3.175 | - |
备注: 产品尺寸、性能可以根据客户要求作调整。








